1
/
of
7
Shop Class Solutions
Table Saw Push Block Handle & Heel (Digital Files)
Table Saw Push Block Handle & Heel (Digital Files)
Regular price
$4.99 USD
Regular price
Sale price
$4.99 USD
Unit price
/
per
Couldn't load pickup availability
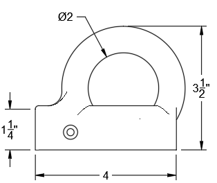
Quickly create push blocks to safely move lumber through the table saw. Designed to work with standard 3/4" material.
3D printer your own handles. Includes STL and 3mf file formats
Share
